【股东分红】



使用该功能需搭配经销商管理功能使用,股东分红依赖于经销商等级,(股东分红是基于经销商上的)设置指定经销商等级对应的股东分红比例,商城每天/周/月拿出前一周期营业额/利润的百分比平均分配给该等级经销商。


一、基础设置



1、自定义名称:


股东分红支持自定义名称,在应用和前端推广中心查看会显示自定义后的名称,



2、股东分红:按钮开启才会有分红产生

3、封顶功能:开启后根据经销商参与股东分红等级可以给不同等级经销商等级设置封顶金额,如果不设置则表示没有封顶金额

4、股东分红条件:上个自然月内最少消费单数,这里是指单数,需要股东在平台每个月最少支付消费一笔订单,金额不限

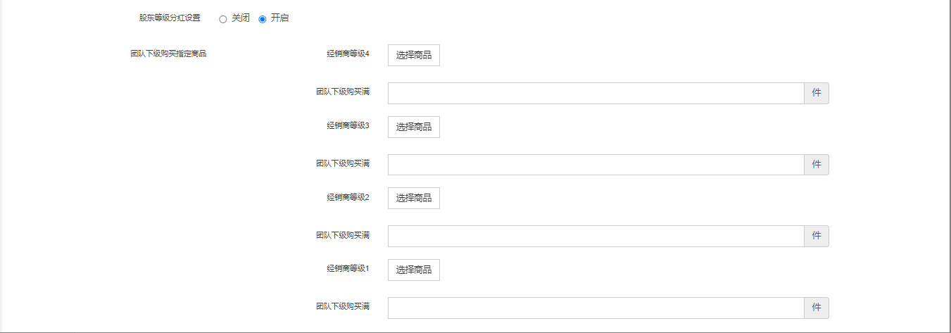
5、股东等级分红设置:开启股东等级分红设置,团队下线购买指定商品:需要订单完成收货后。这里的团队下级购买满(是指团队下会员订单加起来满30件即可)

除了首次成为经销商不需要,其他周期都需要满足条件才可以获得分红。


举例说明:股东分红结算周期按天,经销商A等级设置团队下线购买指定商品3件,这个3件是整个团队加起来达到3件就行;按每天分,要想获得分红,需要周期内团队下线有购买商品才能获得,那就是每天下线都要购买,之前购买的不会统计在内(除了首次成为经销商不需要,其他周期都需要)。


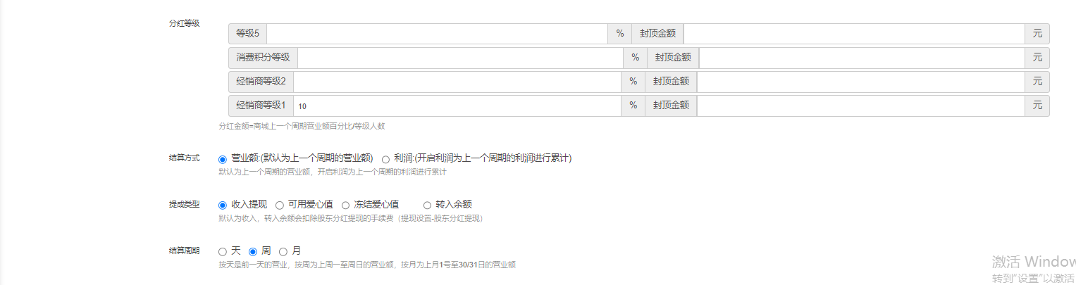
6、股东等级(对应经销商管理所添加的等级)、分红比例

设置分红等级比例,每期该等级分红金额=前一周期分红结算方式总金额*分红比例


封顶金额:

1、根据经销商参与股东分红等级可以给不同等级经销商设置封顶金额,如果不设置则表示没有封顶金额

2、开启封顶功能后开始累计

3、设置的封顶金额是单个经销商分红上限,并非该等级的所有经销商累加上限.

4、举例说明

(1)假设有经销商等级A/B/C(从高到低),A等级封顶1W,单个经销商股东分红上限是1W,超过就不能继续分了,跟结算周期没关系,不是按结算周期每次分钱超过1W就不分;

(2)假设B等级封顶金额5000  、A等级的是1W,会员F是B等级,在该等级已分过一次股东分红100元,还没达到封顶金额,等级从B等级升到A等级,之前的分红会累计,仅累计开启封顶金额之后的分红金额,没开启那段时间奖励的不累加

7、股东分红结算方式

分红结算方式有三种,只能选择一种:

(1)营业额(默认为上一个周期的营业额)营业额不包含运费

(2)利润(上一个周期的利润进行累计)

(3)商品固定金额:(累计上一个周期商品独立设置的金额)(设置路径:商品编辑--分润设置--商品固定计算金额)

假设股东分红结算方式为商品固定金额

例如一个100元的商品在后台设置了商品股东计算金额50元给股东们分,那么对应的就是假设这个结算周期卖了一单。

某个等级是分25%,那么这个商品卖一单那么就拿出50*25%=12.5元给这个等级的人均分

卖了两单就是拿出50*25%*2=25给这个等级的人均分

8、股东分红结算周期,支持按天/周/月三种周期选择;按天是前一天的营业额计算,按周为上周一至周日的营业额计算,按月为上月1号至30/31日的营业额计算。

9、提成类型:支持结算到收入提现/可用爱心值/冻结爱心值/转入余额


二、股东分红



记录每一笔分红信息,包含ID、时间、会员、商城销售总额 、分红比例、团队等级、同等级团队人数、分红金额。


股东分红计算实例

设置经销商等级股东级别股东分红比例为5%,股东级别经销商人数共20人,股东分红结算方式为营业额,股东分红结算周期为按天。

昨天商城营业额为20W元,则今日每个股东等级经销商获得的股东分红金额=20W*5%/20=500元 。

股东分红配合经销商分红使用,设置多个等级经销商,当经销商升级到某个较高等级后即可获得股东分红权益,相当于平台股东商角色。


假设

1、选中团队代理商等级:股东,总人数100人;

2、等级股东分红比例5%;

3、按照营业额分红。

4、按天分红;

5、商城昨天营业额为100W;

则,今天每位股东等级代理商获得分红金额=100W*5%/100=500元


 


三、黑名单


可以添加限制会员,限制会员会计入计算人数,业绩也算,只是不获得分红

作者:售后技术支持-苏宝燕  创建时间:2024-05-22 16:09
 更新时间:2026-01-27 10:24